Online call
PDC series control units are constant-current system, for the high power LED light units.
1. Product features
The PDC series automatic calibration control units are driven by constant current and used for high power LED light fixtures. A single channel of the control unit is able to load up to 100W of power. The digital display on the control unit makes it easy to check the settings. The PDC series control units have the functions of triggering, constant lighting, strobe, dual channel independent output and simultaneous control 2 light fixture. The unique GX16 aviation port enhances the stability and reliability of the signal transmissions between the control units and the light fixtures. PDC-2A is able to adjust the color temperature. The operation panel is lockable, and data can be stored after power off.
2. Naming rule
|
Complete model |
Abbr. Model |
|
LS-PDC-B112-48-300-DC-2A |
PDC-2A |
|
LS-PDC-B112-48-300-DC-2 |
PDC-2 |
3. Product specifications
|
Model name |
PDC-2A |
PDC-2 |
|
Input voltage/Frequency |
AC 100~240V 50/60HZ |
|
|
Lighting method |
Continuous lighting/Strobe lighting |
|
|
Number of channels |
2 channels |
|
|
Drive method |
Constant-current system |
|
|
Rated capacity |
300W max (30W max per channel) |
|
|
Lighting mode setting |
Manual/External |
|
|
Lighting mode setting |
0~999 Level |
|
|
Color temperature adjustment availability |
YES |
NO |
|
Output connector |
(48V LIGHT ) GX16 4-pin |
|
|
Trigger connector |
(TRIG IN ) Parallel communication connector DC3-8/2.54 |
|
|
External control connector |
(EXTERNAL) USB |
|
|
PWM frequency |
150 KHz |
|
|
Applicable light units |
Lighting with input DC48V, Constant-current system |
|
|
Operating temperature and humidity |
Temperature: 0 to 40°C,Humidity: 20% to 85% (with no condensation) |
|
|
Cooling method |
Forced air cooling |
|
|
Installation method |
Naturally placed/DIN rail installation |
|
|
Material and surface processing |
Aluminum alloy, surface electrophoresis |
|
|
Weight |
1.1 Kg |
|
|
Included accessories |
AC power cord 1.2m, Instruction manual |
|
4. Service
|
Accessories |
a.DC extension cord |
c.External trigger cable |
|
b.AC power cord |
d.Communication Cable |
|
|
Customization
|
a.Communication Cable, DC extension cord, External trigger cable, length can be customized |
|
|
b.Output and input interface can be customized |
||
|
c.Power/Voltage can be customized |
||
|
Warranty |
One-year warranty and technical support |
|
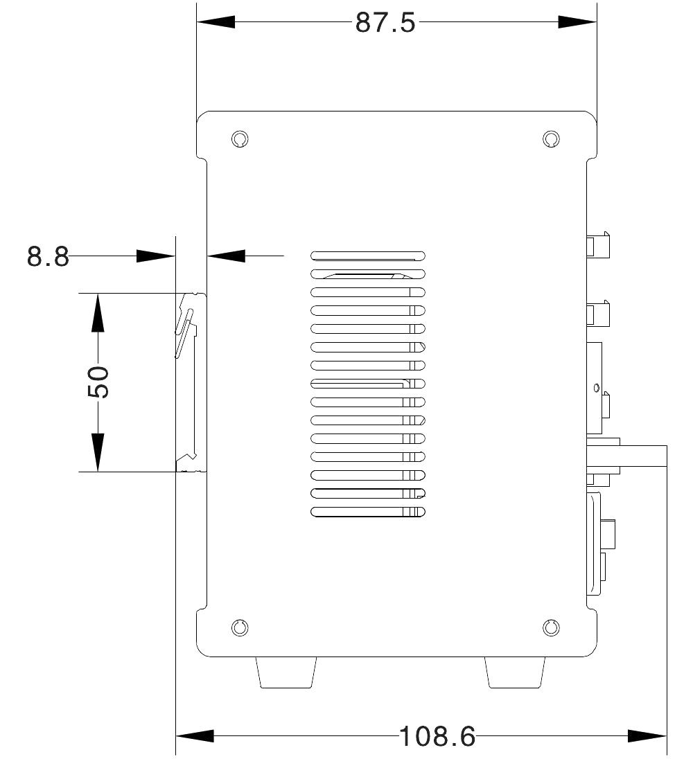
5. Dimensions (mm)

PDC-2A Front view

PDC-2A Side view

PDC-2 Front view

PDC-2 Side view